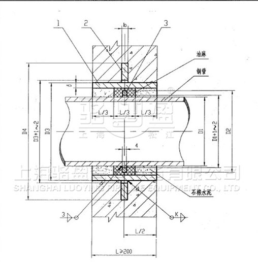
不銹鋼02S404剛性防水套管又叫穿墻套管,穿墻管。不銹鋼02S404剛性防水套管一般適用于管道穿過墻壁之處受有振動的構筑物,套管部分加工完成后,在其外壁均刷底漆一遍(底漆包括樟丹或冷底子油)。剛性防水套管一般用在地下室等管道需穿管道的位置。
產品名稱:不銹鋼02S404剛性防水套管
別 名:不銹鋼防水套管,剛性防水套管,02S404防水套管
口徑規格:【DN50mm-DN3200mm】
產品顏色:天藍色、紅色(實物顏色見產品展示圖片)
適用范圍:【鋼管、PP管等】
產品標準:02S404(圖集號)
產品等級:A級,
工作溫度:-20度至80度(還可加工整體304、316、316L不銹鋼)
在線咨詢
購買熱線: 021-622-00727
不銹鋼02S404剛性防水套管是適用于管道穿過墻壁之處受有振動的構筑物的五金管件,一般生產企業是根據建筑科學研究院研制設計的S312、02S404標準圖集制造的。剛性防水套管穿墻處之墻壁,如遇非混凝土時應改用混凝土墻壁,必須將套管一次凝固于墻內;剛性防水套管施廣泛用于建筑、化工、鋼鐵、自來水、污水處理等單位。
不銹鋼剛性防水套管是鋼管外加翼環(鋼板做的環形套在鋼管上),裝于墻內(多為混凝土墻),用于一般管道穿墻,利于墻體的防水,而柔性防水套管除了外部翼環,內部還有檔圈之類的,法蘭內絲,有成套賣的,也可自己加工,用于有減震需要的管路,如和水泵連接的管道穿墻時。不管是柔性防水套管還是剛性防水套管都是用于管道穿過受有振動或有嚴密防水要求的建筑物墻壁的五金配件,常用于建筑、化工、鋼鐵、自來水、污水處理等單位。
上海駱盈生產的剛性防水套管適用于管道穿過墻壁之處受有振動的構筑物的五金管件,一般生產企業是根據建筑科學研究院研制設計的S312、02S404標準圖集制造的。以質量贏得客戶,以誠信占領市場。老品牌,價格低,質量好,值得信賴!
山東濱州濱北熱電有限公司使用案例使用上海駱盈很新推出的不銹鋼防水套管產品有:DN500 1.6MPa 22臺 DN800 1.0MPa 46臺 DN2000 1.0MPa 10臺 DN3000 0.6MPa 2臺 濱州濱北熱電有限公司由濱州亞光毛巾有限公司、濱州電業局郊區供電局和濱城區投資公司共同投資組建,公司注冊資本2000萬元,占地370畝。熱電廠位于濱城區濱北鎮。該鎮是濱城區的中心鎮。區域內有亞光紡織、金匯玉米、黃河紙業、天綠原生物工程等一大批骨干企業。隨著工業的發展,本區熱負荷急劇增加,采暖期平均熱負荷已達137.05T/H。但是,其供熱方式卻較為落后,目前仍由各單位自備鍋爐分散供熱。根據經濟發展的要求,建設一處公用熱電廠勢在必行。濱城區濱北鎮位于城區北部,擁有多家大型骨干企業,是~級中心鎮。目前,轄區內單位全部使用分散小鍋爐,據統計,現有小型鍋爐37臺,總容量194噸。2000年采暖期很大熱負荷141噸/小時,很小熱負荷94噸/小時,熱負荷穩定,且城鎮建成區面積僅1.8平方公里,實施該項目建設,便于集中供熱。目前濱北鎮用電負荷為8000KW,隨著企業的發展和城鎮的建設開發,用電負荷將會大幅增加。熱電聯產具有節約能源,改善環境,提高供熱質量,增加電力供應的綜合效益。上海駱盈為使客戶得到優質服務,9001:2000,將在售前、售中、售后戶進行詳盡、細致的咨詢和服務,確保讓客戶滿意 。

請點擊圖片看大圖
| 序號No. | 名稱Name | 數量Quantity | 材料Material |
| 1 | 本體Body | 1 | 304,316 |
| 2 | 翼環 | 1 | 304,316 |
請點擊圖片看大圖
|
DN |
D1 |
D2 |
D3 |
D4 |
δ |
b |
k |
|
50 |
60 |
80 |
114 |
225 |
3.5 |
10 |
4 |
|
65 |
75.5 |
95 |
121 |
230 |
3.75 |
10 |
4 |
|
80 |
89 |
110 |
140 |
250 |
4 |
10 |
4 |
|
100 |
108 |
130 |
159 |
270 |
4.5 |
10 |
5 |
|
125 |
133 |
155 |
180 |
290 |
6 |
10 |
6 |
|
150 |
159 |
180 |
219 |
330 |
6 |
10 |
6 |
|
200 |
219 |
240 |
273 |
385 |
8 |
12 |
8 |
|
250 |
273 |
295 |
325 |
435 |
8 |
12 |
8 |
|
300 |
325 |
345 |
377 |
500 |
10 |
14 |
10 |
|
350 |
377 |
400 |
426 |
550 |
10 |
14 |
10 |
|
400 |
426 |
445 |
480 |
600 |
10 |
14 |
10 |
|
450 |
480 |
500 |
530 |
650 |
10 |
14 |
10 |
|
500 |
530 |
550 |
590 |
730 |
10 |
16 |
10 |
|
600 |
630 |
660 |
690 |
830 |
10 |
16 |
10 |
|
700 |
720 |
750 |
790 |
920 |
10 |
16 |
10 |
|
800 |
820 |
850 |
880 |
1020 |
10 |
16 |
10 |
|
900 |
920 |
950 |
980 |
1120 |
10 |
16 |
10 |
|
1000 |
1020 |
1050 |
1080 |
1230 |
10 |
16 |
10 |
|
1200 |
1220 |
1250 |
1290 |
1430 |
12 |
20 |
12 |
|
1400 |
1420 |
1450 |
1490 |
1630 |
12 |
20 |
12 |
|
1600 |
1620 |
1650 |
1690 |
1830 |
14 |
20 |
14 |
|
1800 |
1820 |
1850 |
1900 |
2040 |
16 |
20 |
16 |
|
2000 |
2020 |
2050 |
2100 |
2240 |
16 |
20 |
16 |
專業制造、專業服務,駱盈為你創造更多價值 !
不斷提升服務質量,精益求精,“真誠的服務”是駱盈永恒的主題。駱盈嚴格按照 要求,質量嚴格把關,責任到人,確保生產、銷售、服務的健康運行。加強與用戶溝通,竭誠為廣大客戶提供優質產品,至善至美服務,特此駱盈做出如下承諾:
產品標準
產品嚴格按照中國 GB、HG 標準和美國 API 等標準設計、制造、驗收。密封面硬度達到規定要求,寬度超過標準。
售前服務
產品介紹,技術交流,非標產品設計,疑難解答。
售中服務
1、守信合同,保證及時供貨,隨時保持與客戶聯系
2、對特殊或復雜的產品,我廠安排技術人員對用戶進行產品使用、故障排除、調式及維修進行培訓和指導。
售后服務
1、駱盈產品質保期為自出廠起 12 個月,實行“三包”服務(包退、包換、包修)。
2、產品在使用中我廠定期組織技術、檢查人員進行訪問,征詢用戶對產品質量、使用狀況、改進意見等方面的反饋,以便進一步提高產品質量。
3、對用戶投訴產品質量問題,快速做出反映,售后服務人員在 24-36 小時(省外 48 小時)趕赴現場。
4、對售后服務,要求用戶填寫服務后的質量反饋表,并做出鑒定意見,共同提高駱盈的產品質量與服務質量。
1、客戶采購清單請傳真至 021-64207088 E-mail:luoying@luoyingsh.com,或來電咨詢 021-62212627。
2、收到客戶采購清單,為客戶提供產品型號選型與報價(價格清單)。
3、具體商定:交貨期、特殊要求等事宜。
訂貨須知
1、客戶對產品有特殊要求,須在訂貨合同中提供以下說明:
(1)結構長度
(2)連接形式
(3)公稱直徑、全通徑、縮徑、管道尺寸
(4)用介質及溫度、壓力范圍
(5)實驗、檢驗標準及其他要求本廠可根據客戶特殊要求配置定做和設計特殊產品。
2、本廠可根據客戶特殊要求配置定做和設計特殊產品。
3、如由客戶提供確定的產品類型和型號時,客戶應正確說明其型號的含義和要求,在供需雙方理解一致的條件下簽訂合同。
您也可以聯系在線客服